г.Минск, ул.Бирюзова, д.4/5
Продажа подшипников в Минске и по всей Беларуси
Корзина
0 руб.

Inch Accessories - Locknut and Lockplate Timken N 710-P 710

Inch Accessories - Locknut and Lockplate Timken N 710-P 710
Inch Accessories - Locknut and Lockplate Timken N 710-P 710
Inch Accessories - Locknut and Lockplate Timken N 710-P 710
(0)
Под заказ
TIMKEN
0 руб.
До конца акции осталось:
00дн.
00час.
00мин.
Заказать товар
Товар доступен только под заказ.
Сроки поставки: 2–3 недели
Подарок при покупке
Дарим подарок при покупке данного товара
Выбрать подарок

Inch Accessories - Locknut and Lockplate Timken N 710-P 710
Inch Accessories - Locknut and Lockplate Timken N 710-P 710
(0)
Под заказ
0 руб.


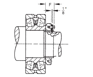
  • The chart below shows dimensions for locknuts and lockplates used in the mounting of straight bore bearings on shafts.
  • Other dimensions and tolerances related to shaft configurations are also shown.
  • Dimensions are presented according to bearing bore size and are applicable to bearings in the various series (e.g., 222,223 etc.).

Specifications

Bearing Bore710 mm
LocknutN 710
LockplateP 710

Threads

Major Diameter710.21 mm
Threads No. per Inch3

Shaft

Relief Diameter A698.68 mm
Diameter S-3695.3 mm
L194.44 mm
H215.88 mm
S350.8 mm

Locknut/Lockplate

C1830.4 mm
D90.88 mm
G50.29 mm
H1425.65 mm
R571.5 mm
F108.00 mm

Мы стараемся максимально лояльно подходить к выбору способов доставки товаров из нашего магазина, чтобы наши клиенты получали необходимое качество по наименьшей цене.

Курьером по городу

Курьером (пн-пт). Курьер доставит товар в день заказа с 18 до 21.00 (при условии, что заказ сформирован до 18.00), либо вечером следующего дня (если заказ сформирован после 18.00).

Самовывозом

Вы можете забрать заказанный на сайте товар в любой день и удобное Вам время. Часы работы и контактный телефон магазина можно узнать здесь. Забронированный товар будет дожидаться Вас в течении двух рабочих дней.

Персональные рекомендации