г.Минск, ул.Бирюзова, д.4/5
Продажа подшипников в Минске и по всей Беларуси
Корзина
0 руб.

Однорядный конический роликоподшипник NTN 4T-3476

Однорядный конический роликоподшипник NTN 4T-3476
Однорядный конический роликоподшипник NTN 4T-3476
Однорядный конический роликоподшипник NTN 4T-3476
(0)
Под заказ
NTN
0 руб.
До конца акции осталось:
00дн.
00час.
00мин.
Заказать товар
Товар доступен только под заказ.
Сроки поставки: 2–3 недели
Подарок при покупке
Дарим подарок при покупке данного товара
Выбрать подарок

Однорядный конический роликоподшипник NTN 4T-3476
Однорядный конический роликоподшипник NTN 4T-3476
(0)
Под заказ
0 руб.


Внутреннее кольцо конического подшипника в сборе со штампованным стальным сепаратором и роликами

Однорядные конические роликоподшипники доступны в метрических (стандартны ISO 355 и JIS B 1512) и дюймовых  размерах (стандарт ABMA, включающий J для метрических размеров). Однорядные конические роликоподшипники являются наиболее распространёнными и обычно устанавливаются "спина к спине".

РАЗМЕРЫ ИЗДЕЛИЯ
МаркаNTN
d - Внутренний диаметр31,75 mm
B - Ширина подшипника/внутреннего кольца29,771 mm
d1 - Наружный диаметр внутреннего кольца57,5 mm
ПРОИЗВОДИТЕЛЬНОСТЬ ПРОДУКТА
C - Динамическая грузоподъёмность103 kN
C0 - Статическая грузоподъёмность114 kN
A2 - Коэффициент материала1
е - Коэффициент0.37
Y0 - коэффициент статической осевой нагрузки0.9
Y2 - Коэффициент осевой нагрузки1.64
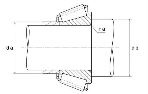
РАЗМЕРЫ ОКРУЖАЮЩИХ ДЕТАЛЕЙ
da max - Максимальный диаметр буртика вала41 mm
db min - Минимальный диаметр буртика вала43 mm
ra max - Максимальный радиус галтели1,3 mm

Мы стараемся максимально лояльно подходить к выбору способов доставки товаров из нашего магазина, чтобы наши клиенты получали необходимое качество по наименьшей цене.

Курьером по городу

Курьером (пн-пт). Курьер доставит товар в день заказа с 18 до 21.00 (при условии, что заказ сформирован до 18.00), либо вечером следующего дня (если заказ сформирован после 18.00).

Самовывозом

Вы можете забрать заказанный на сайте товар в любой день и удобное Вам время. Часы работы и контактный телефон магазина можно узнать здесь. Забронированный товар будет дожидаться Вас в течении двух рабочих дней.

Персональные рекомендации