г.Минск, ул.Бирюзова, д.4/5
Продажа подшипников в Минске и по всей Беларуси
Корзина
0 руб.

Фланцевый корпус INA TME70-XL

Фланцевый корпус INA TME70-XL
Фланцевый корпус INA TME70-XL
Фланцевый корпус INA TME70-XL
(0)
Под заказ
INA
0 руб.
До конца акции осталось:
00дн.
00час.
00мин.
Заказать товар
Товар доступен только под заказ.
Сроки поставки: 2–3 недели
Подарок при покупке
Дарим подарок при покупке данного товара
Выбрать подарок

Фланцевый корпус INA TME70-XL
Фланцевый корпус INA TME70-XL
(0)
Под заказ
0 руб.


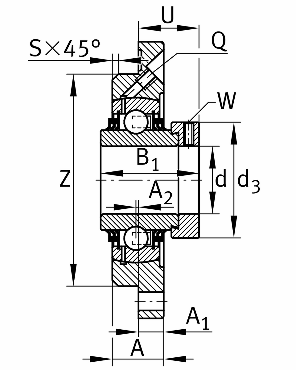
Подшипниковые узлы с корпусом TME, фланцевые подшипниковые узлы с четырьмя отверстиями, корпусом из серого чугуна, центрирующим буртиком, эксцентриковым закрепительным кольцом и T-уплотнениями

Основные
Диаметр отверстия70 mm
Вес4,98 kg
Крепежное отверстие18 mm
Мин. рабочая температура-20 °C
Макс. рабочая температура120 °C
Ширина с закрепительным элементом66 mm
Присоединительная резьба для смазыванияM6
Высота фланца215 mm
Общая высота узла44,5 mm
Динамическая грузоподъемность, радиальная66.000 N
Статическая грузоподъемность, радиальная44.000 N
Предел усталостной нагрузки, радиальный2.300 N
Размер под ключ6 mm
Количество отверстий для винтов4
Толщина фланца18 mm
Высота корпуса32 mm
Диаметр центрирующего буртика150 mm
Диаметр центрирующего буртика, допускh8
Делительный диаметр (отверстия)177 mm
Ширина фаски6 mm

Мы стараемся максимально лояльно подходить к выбору способов доставки товаров из нашего магазина, чтобы наши клиенты получали необходимое качество по наименьшей цене.

Курьером по городу

Курьером (пн-пт). Курьер доставит товар в день заказа с 18 до 21.00 (при условии, что заказ сформирован до 18.00), либо вечером следующего дня (если заказ сформирован после 18.00).

Самовывозом

Вы можете забрать заказанный на сайте товар в любой день и удобное Вам время. Часы работы и контактный телефон магазина можно узнать здесь. Забронированный товар будет дожидаться Вас в течении двух рабочих дней.

Персональные рекомендации